广东MVnex10KV中置式高压柜,得润电气值得信任
 
                            广东MVnex10KV中置式高压柜,得润电气直供。该柜体采用独特的设计结构,由柜体和中置式抽出部件组成。柜体的开关设备是进口敷铝锌薄钢板,并采用多重折边工艺。其开关设备的电气元件都有独立的隔室,如断路器隔室、母线隔室、电缆隔室、以及继电器隔室等。并具有五防的联锁装置。目前,10KV高压柜已经广泛应用到各个领域,深受水泥厂、发电厂、建筑业的喜爱。
一.概述
KYN28A型户内交流金属铠装中置式开关设备(以下简称开关设备)系由西安森源公司开发和提供技术转让的先进中压开关设备。它适用于三相交流额定电压12KV、24KV、额定频率50(60)Hz电力系统,用于接受和分配电能并对电路实行控制、保护及监测。
符合标准
GB3906-2006 《3~35kV交流金属封闭开关设备》
GB11022-1999 《高压开关设备通用技术条件》
IEC62271-200(2003)《额定电压1 kV以上52kV及以下交流金属封闭开关设备和控制设备》
DL404-97《户内交流高压开关柜订货技术条件》
二.型号及其含义

三.使用环境条件
1、环境温度:最高温度+40℃,最低温度-10℃;
2、环境湿度:日平均相对湿度≤95%,月平均相对湿度≤90%;
3、海拔高度:1000m以下;
4、抗地震度:地震烈度不超过8度;
5、周围空气应不含腐蚀性或可燃气体、水蒸气等明显污染;
6、无严重污秽及经常性的剧烈振动,严酷条件下严酷度设计满足1类要求;
7、在超过GB3906规定的正常的环境条件下使用时,由用户和制造厂协商。
注:①相对湿度大于70%时应接通电加热器。
②凡海拔高度超过1000m的地方,按JB/Z102-71规定处理
四.技术参数
1.开关设备技术参数见表1
| 项目 | 单位 | 12KV 参数 | 24KV参数 | |||
| 额定电压 | kV | 3.6,7.2,12 | 24 | |||
| 额定频率 | Hz | 50(60) | 50(60) | |||
| 断路器额定电流 | A | 630,1250,1600,2000, 2500,3150,4000,5000 | 630,1250,1600,2000,2500 | |||
| 开关柜额定电流 | A | 630,1250,1600,2000, 2500,3150,4000,5000 | 630,1250,1600,2000,2500 | |||
| 额定热稳定电流(4s) | kA | 25,31.5,40,50(1S) | 25,31.5,40 | |||
| 额定动稳定电流(峰值) | kA | 63,80,100,125 | 63,80,100 | |||
| 额定短路开断电流 | kA | 25,31.5,40,50 | 25,31.5,40 | |||
| 额定短路关合电流(峰值) | kA | 63,80,100,125 | 63,80,100 | |||
| 额定绝 缘水平 | 1min工频耐受电压 | kV | 24 | 32 | 42 | 65 | 
| 雷电冲击耐受电压 | kV | 40 | 60 | 75 | 95 | |
| 防护等级 | 外壳为IP4X,隔室间、断路器室门打开时为IP2X | |||||
2、VS1、VD4、3AE真空断路器技术参数
| 项目 | 单位 | 12KV 参数 | 24KV参数 | |||
| 额定电压 | kV | 3.6,7.2,12 | 24 | |||
| 额定频率 | Hz | 50(60) | 50(60) | |||
| 断路器额定电流 | A | 630,1250,1600,2000, 2500,3150,4000,5000 | 630,1250,1600,2000,2500 | |||
| 开关柜额定电流 | A | 630,1250,1600,2000, 2500,3150,4000,5000 | 630,1250,1600,2000,2500 | |||
| 额定热稳定电流(4s) | kA | 25,31.5,40,50(1S) | 25,31.5,40 | |||
| 额定动稳定电流(峰值) | kA | 63,80,100,125 | 63,80,100 | |||
| 额定短路开断电流 | kA | 25,31.5,40,50 | 25,31.5,40 | |||
| 额定短路关合电流(峰值) | kA | 63,80,100,125 | 63,80,100 | |||
| 额定绝 缘水平 | 1min工频耐受电压 | kV | 42 | 65 | ||
| 雷电冲击耐受电压 | kV | 75 | 95 | |||
| 额定操作顺序 | O-0.3s(180s)-CO-180s-CO | |||||
| 额定短路开断电流开断次数 | 次 | 50 | 50 | |||
| 机械寿命 | 次 | 20000 | 10000 | |||
当断路器用于控制3~10kV电动机时,若起动电流小于600A,必须加金属氧化锌避雷器,其具体要求由用户与制造厂联系协商:当断路器用于开断电容器组时,电容器组的额定电流不应大于断路器额定电流的80%。
3、操作机构技术参数见表4
| 名称 | 单位 | 数值 | |
| 额定操作电压 | 合闸线圈 | V | DC220、110,AC220、110 | 
| 分闸线圈 | V | DC220、110,AC220、110 | |
| 线圈功率 | 合闸线圈 | W | 245 | 
| 分闸线圈 | W | 245 | |
| 储能电机功率 | W | 50 | |
| 储能电机额定电压 | V | DC220、110,AC220、110 | |
| 储能时间 | S | >10 | |
五.结构特点
柜体是由柜体和中置式可抽出部件(即手车)两大部分组成 (见图1)。柜体分四个单独的隔室,外壳防护等级为IP4X,各小室间和断路器室门打开时防护等级为IP2X。本开关设备可以从正面进行安装、调试和维护,因此它可以背靠背、组成双重排列和靠墙安装.
1.外壳及其它
开关设备的主柜架是选用进口敷铝锌薄钢板,并采用多重折边工艺,使整个柜体具有很强的抗腐蚀与抗氧化作用的优点。
2.手车
手车与柜体绝缘配合,机械联锁安全。根据用途不同,手车分断路器手车、电压互感器手车、计量手车、隔离手车等。各类手车按模数,积木式变化,同规格手车可以互相自由互换。当手车需要移开柜体时,用一辆专用转运车,就可以方便抽出;由于采用中置式,整个小车体积小,检查、维护方便。

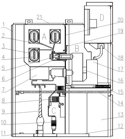
开关柜结构图
A.母线室 B.断路器手车室 C.电缆室 D.继电器仪表室
1.外壳 2.分支母线 3.母线套管 4.主母线 5.静触头 6.静触头盒
7.电流互感器 8.接地开关 9.一次电缆 10.避雷器 11.接地主母线
12.底板 13.二次线槽 14.接地开关操作机构 15.可抽出式水平隔板
16.加热装置 17.断路器手车 18.二次插头 19.活门机构 20.装卸式隔板 21.泄压
3. 隔室
开关设备主要电气元件都有其独立的隔室,即:断路器手车室、母线室、电缆室、继电器仪表室。各隔室间防护等级都达到IP2X; 除继电器室外,其它三隔室都分别有其泄压通道。

a.断路器隔室
抽出式断路器移开后,断路器隔室内的静触头被活门遮蔽,断路器隔室被保护。
在断路器室内,打开金属活门检查静触头。

b.母线隔室
1.主母线2.分支母线3.螺栓4.垫块母线与支母线的联接型式

c.电缆隔室
电缆室空间较大,必要时每相可并接6根单芯电缆。

d.继电器仪表室
继电器仪表室可安装继电保护元件、仪表、带电监察指示器,以及特殊要求的二次设备。
4.防止误操作联锁装置
开关设备内装有安全可靠的联锁装置,完全满足"五防"的要求。
5.泄压装置
在断路器手车室,母线室和电缆室的上方均设有泄压装置,当断路器或母线发生内部故障电弧时,顶部装备的泄压金属板将会自动打开,释放压力和排泄气体,以确保操作人员和开关柜的安全。

图3
6.开关设备外形尺寸(见图3、表5)
| 外形尺寸 | 12KV | 24KV | |
| 高H(mm) | 2300 | 2430 | |
| 宽W(mm) | ≤1250A | 800、650 | 1000 | 
| 1600A | 800 or 1000 | 1000 | |
| >1600A | 1000 | 1000 | |
| 深度D(mm) | 电缆进线 | 1500 | 1850 | 
| 架空进线 | 1660 | 2150 | 
六.开关设备安装和调试
1.开关设备地基见表6、图4
2.开关设备的安装
a.开关设备的安装基础尺寸与安装尺寸(见图5、表7)
| 电压 | 柜宽A | 柜深C | M | L | 
| 12KV | 650 | 1500 | 480 | 1450 | 
| 1660 | 480 | 1610 | ||
| 800 | 1500 | 630 | 1450 | |
| 1660 | 630 | 1610 | ||
| 1000 | 1500 | 830 | 1450 | |
| 1660 | 830 | 1610 | ||
| 24KV | 1000 | 1850 | 830 | 1800 | 
| 2150 | 830 | 2100 | 



8.订货须知
KYN28A-12(24)开关柜订货时应提供下列技术资料
1.主接线方案图编号、用途和单线系统图、额定电压、额定电流,额定短路开断电流、配电室平面布置图及开关柜的排列配置图等;
2.开关柜控制、测量及保护功能的要求以及其它闭锁和自动装置的要求及原理图;
3.开关柜内主要电气元件的型号,规格及数量;
4.如开关柜之间或进线柜需要母线桥连接,应提供母线桥的额定载流量,母线桥的跨度,距地高度等具体要求数;
5.开关柜使用在特殊环境条件时,应在订货时详细说明;
6.其它特殊要求,在订货前须详细书面说明、协商。如订货合同中有所用变柜,地基制作请按照提供的基础图施工。

以上就是得润电气小编分享的电气知识,如果您还有不了解的地方,欢迎来电咨询!
    



 
                     
 
                     
                     
 
                     
                     
 
                     
                     
 
                     
                     
 
                    








