高低压无功补偿装置功能大全解,点这里
发布日期:2020-08-22 来源: 浏览次数:363
无功补偿,全称无功功率补偿,是一种在电力供电系统中起提高电网的功率因数的作用,降低供电变压器及输送线路的损耗,提高供电效率,改善供电环境的技术。所以无功功率补偿装置在电力供电系统中处在一个不可缺少的非常重要的位置。合理的选择补偿装置,可以做到最大限度的减少电网的损耗,使电网质量提高。反之,如选择或使用不当,可能造成供电系统,电压波动,谐波增大等诸多因素。所以无功补偿的各功能必须由无功补偿装置来实现。安徽得润电气就是一家主要生产高低压无功补偿装置厂家,现在我们来介绍一下高低压无功补偿装置的原理吧!
分相补偿装置可以补偿不平衡的无功电流,但是对于不平衡的有功电流无能为力。实际上,经过恰当设计的无功补偿装置,不但可以将三相的功率因数均补偿至1,而且可以将三相间的不平衡有功电流调整至平衡。
1、怎样调整不平衡电流
在很久以前,电学奇才斯坦因梅茨(C.P.Steinmetz)就已经找到了利用无功补偿来平衡三相电流的解决办法。在《电力系统无功功率控制》一书中有比较详细的介绍,有兴趣的读者不妨一读。
斯坦因梅茨的办法有两个缺点:其一是计算过程比较繁复,读者很难从计算过程中领会这种调整不平衡电流方法的物理意义。其二是只能适用于三相三线系统,当应用于三相四线系统时,如果零线电流不为零,就会出现较大的误差。
笔者在多年研究无功补偿技术的基础上,总结出了一套简明易懂的调整不平衡电流理论与计算方法,下面就进行介绍。
2、调整不平衡电流的基本原理
要了解首调整不平衡电流的基本原理,首先要了解wangs定理,读者可以参见本博客中的Wangs定理一文。
在了解wangs定理的前提下,这里具体介绍一下怎样调整不平衡有功电流。
设有一个电阻连接在A相与B相两端,这是一个典型的不平衡负荷,调整不平衡电流的目标就是将这个电阻的电流平均分配到三相当中去,具体的方法如图1所示:

图1
利用wangs定理的基本概念,在A相与C相之间接入一个适当的电感L将A相有功电流的1/3转移到C相,这时电感L在A相产生的感性无功电流恰好将电阻在A相产生的容性无功电流抵消掉。在B相与C相之间接入一个适当的电容C将B相有功电流的1/3转移到C相,这时电容C在B相产生的容性无功电流恰好将电阻在B相产生的感性无功电流抵消掉。电感L在C相产生的感性无功电流恰好将电容C在C相产生的容性无功电流抵消掉。这样三相电流完全平衡,并且三相的功率因数全等于1。
设有一个电阻连接在A相与零线之间,这是另一个典型的不平衡负荷,调整不平衡电流的目标就是将这个电阻的电流平均分配到三相当中去,具体的方法如图2所示:

图2
在A相与C相之间接入一个适当的电感L1将A相有功电流的1/3转移到C相,在A相与B相之间接入一个适当的电容C1将A相有功电流的1/3转移到B相,这时电感L1在A相产生的感性无功电流恰好将电容C1在A相产生的容性无功电流抵消掉。在B相与零线之间接入一个电感L2将电容C1在B相产生的容性无功电流抵消掉。在C相与零线之间接入一个电容C2将电感L1在C相产生的感性无功电流抵消掉。于是三相电流完全平衡,并且三相的功率因数全等于1。
一个实际的有功负荷系统相当于在各相与相之间以及各相与零线之间分别接有不同的电阻,在计算的时候将各电阻分别单独计算,然后按叠加原理加在一起就可以确定各相与相之间以及各相与零线之间需要接入的电感和电容数量。在叠加的过程中,如果某一路既有电感又有电容,则进行抵消处理,例如:计算得出A相与B相之间应接入15Kvar的电感和7Kvar的电容,则抵消处理之后仅剩8Kvar的电。
以上介绍的方法需要使用电感,在实际的无功补偿装置中使用电感是不适合的,因为电感的价格高、损耗大、重量大。所幸的是,实际的电力系统负荷总是存在电感的,正因为负荷存在电感,才需要进行无功补偿,于是我们就可以利用负荷的电感来调整不平衡有功电流。理论计算与实践经验均表明:只要在各相与相之间以及各相与零线之间恰当的接入不同数量的电容器,就可以在无功补偿的同时调整不平衡有功电流。并且接入的电容器总Kvar数与分相补偿装置将各相功率因数补偿至1所需要的总Kvar数相同。
由于调整不平衡有功电流需要利用负荷的电感,因此负荷的功率因数越低意味着可以利用的电感越多,则调整不平衡有功电流的能力就越强。计算表明:如果负荷的功率因数为0.7,那么最大相电流是最小相电流2倍的情况可以调整到平衡。如果负荷的功率因数为0.85,那么最大相电流是最小相电流1.5倍的情况可以调整平衡。如果负荷的功率因数为1,那么意味着没有可以利用的电感,因此无法进行不平衡调整。
下面举一例说明如何连接电容器来达到即补偿功率因数又调整不平衡电流的目的。
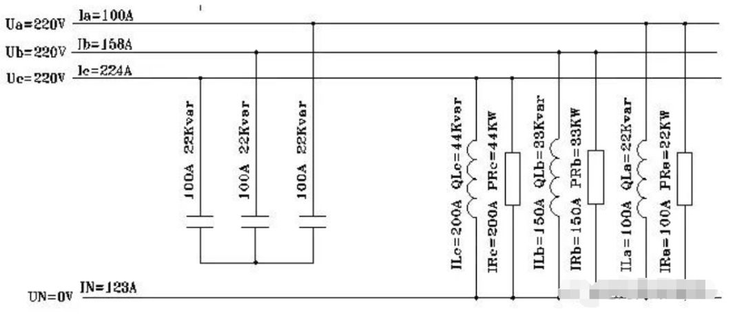
设有一用电系统如图3所示:

图3
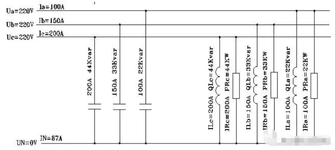
这是一个功率因数很低且三相严重不平衡的例子,三相的功率因数均为0.707。C相电流比A相电流大一倍。在这个例子里,由于负荷含有足够多的电感,因此只要恰当地投入电容器,就可以使三相的功率因数均为1,并且三相电流平衡。电容器的接法如图4所示:

图4

图5

图6

图7

图8











